Corrente nominale 80A direttamente
Certificato MID
Classe di alta precisione C
Montaggio su guida DIN da 35 mm
Uscita a impulsi
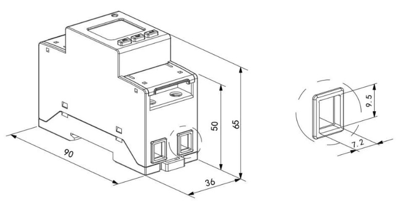
4 moduli larghezza 72 mm
Per la gestione energetica IoT, la fabbrica, la scuola
Misurazione AC monofase
Corrente in ingresso diretta 80 A
Certificato CE-MID
Classe 1 ad alta precisione
Installazione su guida DIN
Comunicazione RS485
Applicazione: gestione energetica IoT, fabbrica, scuola
+86-18702106858 / +86-21-69156352
Il contatore elettrico monofase ADL200 è un contatore di energia compatto e di alta precisione progettato per sistemi a bassa tensione. Misura l'energia attiva monofase e vari parametri elettrici come tensione, corrente, potenza e fattore di potenza. Con un display LCD a 8 bit, offre letture chiare dell'energia attiva sia in kWh positivi che negativi. Il contatore è dotato di un'interfaccia di comunicazione RS485 con protocollo MODBUS-RTU, che lo rende ideale per l'integrazione in piattaforme IoT e sistemi di gestione dell'energia. Certificato secondo gli standard IEC62053-21 e IEC62053-22, garantisce prestazioni affidabili e precisione. L'installazione su guida DIN e il fattore di forma ridotto ne facilitano l'implementazione in varie applicazioni.
| Parametri tecnici | Valore | |
| Tensione in ingresso | Tensione di riferimento | CA 220 V |
| Frequenza di riferimento | 50Hz | |
| Consumo energetico | <10VA | |
| Corrente in ingresso | Corrente di base | 10A |
| Corrente massima | 80A | |
| Corrente iniziale | 4‰ libbre | |
| Consumo | <4VA | |
| Prestazioni di misurazione | Precisione della misurazione | 1 classe |
| Gamma di misurazione | 000000,00-999999,99 kWh | |
| Precisione dell'orologio | Errore ≤0,5 s/d | |
| Uscita | Larghezza dell'impulso | 80±20 ms |
| Costante di impulso | 1000imp/kWh | |
| Freno a richiusura automatica | Interfaccia | RS485 (A B-) |
| Modalità di connessione | Scudo | |
| Conduttori a doppino intrecciato | ||
| Protocollo | Modbus-RTU | |
| L*L*A | 90*36*65mm | |
| Coppia terminale di corrente forte | <1,8 Nm | |
Gestione dell'efficienza energetica
Soluzione EMS IoT
Fondata nel 2003, Acrel Co., Ltd. [Codice azionario: 300286.SZ] è un'azienda high-tech specializzata in soluzioni di gestione energetica e sicurezza elettrica. Con sede a Shanghai, Acrel offre soluzioni innovative e sostenibili per l'efficienza energetica delle microreti e la sicurezza elettrica. Con oltre 600 brevetti e copyright software, Acrel ha implementato più di 28.000 soluzioni di sistema in tutto il mondo, dando vita a un'architettura internet energetica "cloud-edge-end" completa.
Acrel Co., Ltd. È Cina all'ingrosso Contatore di energia RS485 su guida DIN ad accesso diretto monofase CA Produttori E Contatore di energia RS485 su guida DIN ad accesso diretto monofase CA Fabbrica. L'ecosistema di prodotti integrati di Acrel spazia dal software per piattaforme cloud ai componenti per l'utente finale, coprendo settori come energia, energie rinnovabili, data center, edifici intelligenti, trasporti e città intelligenti. Queste soluzioni consentono una gestione energetica intelligente e in tempo reale, migliorando la sicurezza energetica e riducendo i costi operativi. Offriamo Contatore di energia RS485 su guida DIN ad accesso diretto monofase CA in vendita.
Lo stabilimento produttivo dell'azienda, Jiangsu Acrel Electric Manufacturing Co., Ltd., rispetta rigorosi standard qualitativi e linee guida ambientali, con centri di collaudo all'avanguardia e l'impegno a processi di produzione senza piombo. Il team di oltre 500 ingegneri di Acrel fornisce sistemi di efficienza energetica all'avanguardia e soluzioni energetiche intelligenti.
Con una solida presenza nazionale, Acrel si sta espandendo attivamente a livello internazionale, supportata da una rete globale di team di vendita e tecnici e da una piattaforma di e-commerce che garantisce esperienze di servizio fluide in tutto il mondo. Acrel è orgogliosa di aiutare le aziende a migliorare l'efficienza, ridurre i consumi e raggiungere obiettivi di sostenibilità.
Insieme stiamo costruendo un futuro più intelligente e più verde.
Brevetti autorizzati
0+Numero di clienti serviti
0+Totale dipendenti
0+Base di produzione
0m²AM2SE, AM3SE e AM5SE Anti-Isleing Relè di protezione Supera i rigorosi test DEKRA secondo gli standard FGW TG3 e VDE-AR-N 4110:2023 Acrel ottiene la certificazione di connessione alla rete critica per il mercato tedesco della media...
Per saperne di piùCome funzionano realmente i contatori intelligenti: la fisica e l'ingegneria dietro il monitoraggio energetico in tempo reale La maggior parte delle persone interagisce con un contatore intelligente nello stesso modo in cui interagisce con un termostato: vedono l'uscita, non il...
Per saperne di piùLa serie avanzata ADL200W/ADL400W presenta la prima regolazione automatica della sequenza di fase del settore, design miniaturizzato 1P e funzionalità di debug wireless --- Acrel presenta soluzioni rivoluzionarie di contatori di energia ottimizzate per la transizione europea alle...
Per saperne di più